Bize e-posta gönderin

sdepochwater@hotmail.com

Haberler

Sürgülü vanaların özellikleri ve sınıflandırılması

2025-10-31 0 bana mesaj bırak


Sürgülü vana olarak da bilinen sürgülü vana, açma ve kapama kısmı bir sürgülü plaka olan ve sürgülü plakayı yukarı ve aşağı hareket ettirmek için bir valf gövdesi tarafından tahrik edilen bir vanadır.


Sürgülü vanaların özellikleri


1) Sürgülü vanaların avantajları: Düşük sıvı akış direnci; Açma ve kapama için gereken tork küçüktür. Ortamın akış yönü sınırsızdır. Açılırken ve kapanırken su darbesi olayı yoktur. Şekil yapısı nispeten basittir ve üretim süreci daha iyidir.


2) Sürgülü vanaların dezavantajları: Nispeten büyük dış boyutlara ve montaj yüksekliklerine sahiptirler ve önemli bir montaj alanı gerektirirler. Açma ve kapama işlemi sırasında sızdırmazlık yüzeyinde göreceli sürtünme meydana gelir ve bu da ciddi aşınmaya neden olur. Yüksek sıcaklıklarda bile çizilmeye eğilimlidir. Sürgülü vanaların genellikle iki sızdırmazlık yüzeyi vardır; bu da işleme, taşlama ve bakım aşamalarında bazı zorluklar yaratır.


Sürgülü vanaların geniş bir uygulama alanı vardır. Genellikle nominal çapı DN50 veya daha fazla olan su temini boru hatları için kullanılır.



Sürgülü vanaların sınıflandırılması


Sürgülü vanalar bağlantı yöntemlerine göre dişli sürgülü vanalar, flanşlı sürgülü vanalar ve kaynaklı sürgülü vanalar olarak sınıflandırılabilir. Yapısal özelliklerine göre paralel kapı plakaları ve kamalı kapı plakaları olarak ikiye ayrılabilirler. Valf gövdesinin yapısına bağlı olarak, farklı gövdeli (kaldırma gövdeli) sürgülü vanalar ve gizli gövdeli (döner gövdeli) sürgülü vanalar olarak sınıflandırılabilirler.




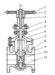
1) Açık milli paralel çift sürgülü vana: Açık milli paralel çift sürgülü vana Şekil 1'de gösterilmektedir. Kapısı iki simetrik ve paralel diskten oluşur. Kapı alçaldığında, kapının alt kısmına yerleştirilen üst takoz, iki kapının dışarı doğru genişlemesine ve vana yuvasına sıkıca bastırılmasına neden olur, böylece vana sıkıca kapanır. Kapı yükseldiğinde kama diskten ayrılır. Disk belirli bir yüksekliğe ulaştığında disk üzerindeki çıkıntılar sayesinde takoz kaldırılır ve kapakla birlikte yükselir. Bu valf basit bir yapıya sahiptir. Sızdırmazlık yüzeyinin işlenmesi, taşlanması ve bakımı, kamalı sürgülü vananınkinden daha basittir. Ancak sızdırmazlık performansı nispeten zayıftır. Basıncı 1,0MPa'yı aşmayan ve sıcaklığı 200°C'yi aşmayan ortamlar için uygundur.



Şekil 1: Yükselen milli paralel çift sürgülü vana


1. El çarkı 2- valf gövdesi somunu 3- valf gövdesi 4 - salmastra bileziği 5 - salmastra 6 - valf kapağı

7 - Conta 8 - Sızdırmazlık halkası 9- Vana gövdesi 10- Kapak 11 - Üst takoz


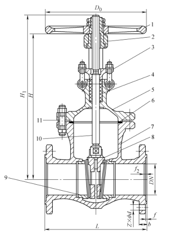
2) Gizli milli kama sürgülü vana: Şekil 2'de görüldüğü gibi bu vananın sızdırmazlık yüzeyi eğimlidir ve bir Açı oluşturur. Ortam sıcaklığı ne kadar yüksek olursa Açı da o kadar büyük olur. Kama kapı plakaları sırasıyla Şekil 2a, b ve c'de gösterildiği gibi tek kapı plakaları, çift kapı plakaları ve elastik kapı plakaları olarak sınıflandırılır. Kama kapı plakalarının işlenmesi, taşlanması ve bakımı paralel kapı plakalarına göre daha karmaşıktır ancak daha iyi sızdırmazlık performansına sahiptirler.


Şekil 2 Gizli gövdeli kama sürgülü vana


a) Kamalı tekli kapı plakası b) Kamalı çiftli kapı plakası c) Kamalı elastik kapı plakası


1. Volan 2. Gösterge 3. Kapak 4. Salmastra kutusu 5. Salmastra 6. Vana kapağı

7- Valf sapı 8 - Valf sapı somunu 9, 12 - Sızdırmazlık Halkası 10 - Valf gövdesi 11 - Sürgülü Plaka 13 - Conta


Elastik sürgülü vana Şekil 3'te gösterilmektedir. Basit yapı ve güvenilir kullanım avantajlarına sahiptir ve kapanmanın sıkılığını artıran küçük bir elastik deformasyon üretebilir.



Şekil 3 Elastik sürgülü vana


1. El çarkı 2- valf gövdesi somunu 3 - salmastra bileziği 4 - salmastra 5 - valf kapağı 6 - conta

7- Vana gövdesi 8 Sürgülü Plaka 9 - Sızdırmazlık Halkası 10 - Vana Mili 11 - Bağlantı civatası


Yükselen gövdeli bir sürgülü vanada, vana gövdesinin dişi, bir el çarkıyla donatılmış bir manşon somununa uyar. Valf gövdesinin alt ucunda, kapı plakasına gömülü olan kare bir başlık bulunur. El çarkı döndürüldüğünde valf gövdesi ve kapak plakası yukarı ve aşağı hareket eder. Açıldığında valf gövdesi el çarkından dışarı doğru uzanır. Avantajı, valfin açılma derecesinin valf gövdesinin uzatılmış uzunluğundan anlaşılabilmesi ve valf gövdesinin taşınan ortamla doğrudan temasa geçmemesidir. Dezavantajı ise valfin açılma yüksekliğinin büyük olması ve kurulum alanının valf gövdesinin dışarı doğru uzanması için yeterli alana sahip olması gerektiğidir. Sahaya kurulum yaparken mutlaka bu noktaya dikkat edin. Gizli gövdeli sürgülü vananın valf gövdesinin dış dişlisi, valfe gömülü iç dişliye uyar. Bu nedenle, el çarkı döndürüldüğünde valf gövdesi dönerek valf içindeki kapağın yukarı ve aşağı hareket etmesine neden olur, ancak valf gövdesi yukarı ve aşağı hareket edemez. Gizli milli sürgülü vana kurulum sırasında daha az yer kaplar. Taşınan ortam, valf gövdesiyle doğrudan temas eder ve valfin açılma derecesi, valf gövdesi aracılığıyla değerlendirilemez. Yükselen milli bir sürgülü vana veya yükselmeyen milli bir sürgülü vana olsun, sürgülü vana yatay olarak monte edilmelidir. Valf gövdesi dikey olarak yukarı doğru olmalı ve eğimli olmamalıdır. Valf gövdesinin aşağıya doğru takılması kesinlikle yasaktır.



Alakalı haberler
bana mesaj bırak
X
Size daha iyi bir gezinme deneyimi sunmak, site trafiğini analiz etmek ve içeriği kişiselleştirmek için çerezleri kullanıyoruz. Bu siteyi kullanarak çerez kullanımımızı kabul etmiş olursunuz. Gizlilik Politikası
Reddetmek Kabul etmek